Revue Technique Automobile Skoda Octavia: Réparation de l'arbre intermédiaire
Outils spéciaux équipements d'atelier, contrôleurs, appareils de mesure et auxiliaires nécessaires
- Plaque de pression -MP 3-406-
- Plaque de pression -MP 3-407-
- Pièce de pression -T10032-
- Pièce de pression -MP 3-472-
- Séparateur Kukko par ex. -15-2-

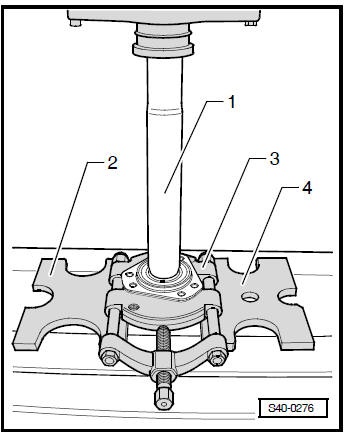
Démancher le palier
- Démancher le palier de l'arbre intermédiaire comme indiqué sur la figure.
Les tranchants du séparateur Kukko -15-2- doivent alors être tournés vers l'arbre.
- Arbre intermédiaire avec palier
- Plaque de pression -MP 3-406-
- Plaque de pression -MP 3-407-
- Séparateur Kukko par ex. -15-2 -
Remarque Maintenir l'arbre pendant le démanchement.

Emmancher le palier
- Emmancher le palier, comme indiqué sur la figure, jusqu'à la butée sur l'arbre intermédiaire.
- Pièce de pression -T10032-
- Arbre intermédiaire
- Palier
- Pièce de pression -MP 3-472-
- Plaque de pression -MP 3-406-
- Séparateur Kukko par ex. -15-2 -
- Plaque de pression -MP 3-407-
L'épaulement -flèche- de la pièce de pression -MP 3-472- doit être tourné vers le palier.
Aperçu du montage
1 - Joint homocinétique extérieur
Toujours remplacer entièrement
Déposer
Poser: Emmancher sur l'arbre avec un maillet en plastique
jusqu'à la butée
Contrôler
2 - ...
D'autres materiaux:
Déposer et poser le support du dispositif de la portière
Déposer
Remarque Le
support du dispositif est déposé conjointement au lève-vitre.
Déposer l'habillage de la portière.
Déposer le boîtier du cylindre de fermeture (portière côt ...
Poste de conduite
Synoptique
Fig. 21 Poste de conduite
Lève-vitres électriques
Réglage électrique des rétroviseurs
Manette d'ouverture de portière
Diffuseurs ...
