Revue Technique Automobile Skoda Octavia: Déposer et poser le piston pour l'étrier de frein FN3
Outils spéciaux équipements d'atelier, contrôleurs, appareils de mesure et auxiliaires nécessaires
- Clavette de démontage -3409-
- Pousse-piston -T 10145-
- Outil de montage pour capuchons de protection -T10146/6-

Déposer
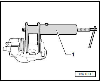
- Chasser le piston de l'étrier de frein avec de l'air comprimé.
- Mettre une plaque en bois dans la cuvette pour éviter d'endommager le piston.

- Débloquer le capuchon de protection avec la clavette de démontage -3409- de l'étrier de frein.

- Sortir la bague d'étanchéité avec la clavette de démontage -3409-.
Remarque Lors de la dépose, veiller à ce que la surface du cylindre ne soit pas endommagée.

Poser
- Nettoyer exclusivement les surfaces du piston et de la bague d'étanchéité avec de l'alcool à brûler puis les sécher.
- Avant la pose, passer une fine couche de graisse saponifiée au lithium -G 052 150 A2- sur le piston et la bague d'étanchéité.
- Insérer la bague d'étanchéité dans l'étrier de frein.
- Insérer le capuchon de protection -A- dans l'outil de montage pour capuchons de protection -T10146/6- -1-.

- Pousser le capuchon de protection avec l'outil de montage pour capuchons de protection -1- et le pousse- piston -2- sur l'étrier de frein de manière à ce que l'étrier de frein répose tout autour.

- Contrôler si le capuchon de protection est correctement positionné.
Remarque Il ne doit plus être possible d'enlever le capuchon de protection manuellement de l'étrier de frein.

- Pousser légèrement le piston sur le capuchon de protection et ensuite le bloquer dans cette position par ex. avec la clavette de démontage -2-.
Remarque Ne pas gauchir le piston, afin de ne pas endommager le manchon d'étanchéité.

- Souffler sur le capuchon de protection avec l'air comprimé (max 3 bar) -1-. Ce faisant, le capuchon de protection saute sur le piston.
- Pousser le piston avec le pousse-piston -1- dans l'étrier de frein.
La lèvre extérieure d'étanchéité du capuchon saute alors dans la gorge du piston.
Réparer l'étrier de frein FN 3
Poser le set de réparation complet en cas de remises en état.
Utiliser exclusivement de l'alcool à brûler pour nettoyer le
frein.
Passer une fine couche de graisse saponifiée au lithium ...
Réparer l'étrier de frein arrière
Poser le set de réparation complet en cas de remises en état.
Utiliser exclusivement de l'alcool à brûler pour nettoyer le frein.
Les étriers de frein neufs sont remplis de liquide et
p ...
D'autres materiaux:
Centrale électrique (réseau de bord) \ Fonctions reparties
La centrale électrique
Les fonctions de l'appareil de commande de réseau de bord version Midline.
Commande de l’éclairage extérieur avec surveillance des ampoules.
Commande l'éclairage ...
Déposer et poser un phare
Déposer
Remarque Représentation
de la dépose et pose d'un phare droit. La dépose et la pose du phare gauche
sont identiques.
Déposer l'écrou -flèche- (1 Nm).
Sortir le levier de bl ...