Revue Technique Automobile Skoda Octavia: Déposer et poser le cylindre de fermeture

Déposer
- Déposer l'habillage de la colonne de direction Carrosserie - Travaux de montage ; Gr. de rép. 70.
- Déposer un peu le calculateur électronique de colonne de direction -J527-.
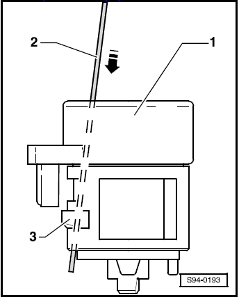
- Débrancher la connexion à fiche pour l'antidémarrage avec transpondeur -1-.
Remarque La bobine de lecture de l'antidémarrage avec transpondeur est fixé sur le cylindre de fermeture et ne peut pas être remplacé séparément.

- Mettre la clé de contact dans le cylindre de fermeture et la tourner sur la position "contact mis" -2-.
- Insérer un fil de fer (env. 1,2 mm) dans le trou à côté de la clé de contact -flèche-.

- Avec le fil de fer -2-, déverrouiller le levier de sécurité -3- du cylindre de fermeture -flèche- et extraire le cylindre de fermeture du boîtier de l'antivol de direction.
| ATTENTION! L'antivol de direction ne doit
pas bouger sans le cylindre de fermeture, sinon il bloque
complètement.
L'antivol de direction bloqué doit être remplacé. |
Poser
- Mettre la clé de contact dans le cylindre de fermeture et la tourner sur la position "contact mis ».
Remarque En mettant le cylindre de fermeture, faire attention à ce que le raccord de la bobine de lecture de l'antidémarrage avec transpondeur soit bien dans le guidage du boîtier de l'antivol de direction.
- Rebrancher le connecteur sur la bobine de lecture.
- Poser un peu le calculateur électronique de colonne de direction -J527-.
- Poser l'habillage de la colonne de direction Carrosserie - Travaux de montage ; Gr. de rép. 70.
Contact-démarreur et cylindre de fermeture
ATTENTION! Déconnecter la tresse de masse
de la batterie avant de travailler sur l'installation électrique.
Remarque
Avant de déconnecter la batterie demander le codage s'il s' ...
Déposer et poser le contact-démarreur
Déposer
Déposer l'habillage de la colonne de direction Carrosserie -
Travaux de montage ; Gr. de rép. 70.
Déposer un peu le calculateur électronique de colonne de direction
-J ...
D'autres materiaux:
Affectation des fusibles dans le compartiment moteur
ESC, ABS
ESC, ABS
Calculateur du moteur
Ventilateur de radiateur, indicateur de température d'huile, débitmètre
d'air, soupape de régulation pour la pression du ...
Contrôler la protection contre le gel, si nécessaire faire l'appoint en
additif de liquide de refroidissement
Attention!
Les additifs pour liquide de refroidissement sont
toxiques!
Ne pas inhaler les vapeurs de liquide de
refroidissement, ne pas avaler du liquide de refroidiss ...