Revue Technique Automobile Skoda Octavia: Déposer et poser la barre stabilisatrice
Revue Technique Automobile Skoda Octavia / Châssis-suspension / Suspension des roues avant / Aperçu du montage: Support du groupe moto-propulseur, barre stabilisatrice,
triangle de suspension / Déposer et poser la barre stabilisatrice

Déposer
Outils spéciaux équipements d'atelier, contrôleurs, appareils de mesure et auxiliaires nécessaires
- Dispositif de fixation -T10096-
- Dispositif de levage pour moteur et boîte de vitesses par ex. -V.A.G 1383 A-
- Extracteur de joint articulé -3287 A-
- Déposer les roues avant.
- Déposer le revêtement du plancher, à cet effet dévisser les écrous -flèches-.

- Dévisser la vis -1- et désolidariser le joint à croisillon -2- du mécanisme de direction.
- Déposer les panneaux d'insonorisation en bas.
- Désolidariser la barre de direction de la barre stabilisatrice.

- Dévisser les écrous -flèches-.
- Desserrer l'écrou de la rotule de la barre de direction sur les deux côtés, mais ne pas encore dévisser.
Pour protéger le filetage sur le tourillon, laisser dessus l'écrou légèrement serré.

- Désolidariser la rotule de la barre de direction du carter du roulement de roue au moyen de l'extracteur de joint articulé -3287A-.
- Fixer le groupe motopropulseur avec les consoles .

- Dévisser la barre stabilisatrice du groupe motopropulseur- 11- et -16-.
- Déposer l'appui oscillant de la boîte de vitesses, retirer à cet effet les vis -14-.

- Mettre le dispositif de levage pour moteur et boîte de vitesses, par ex. -V.A.G 1383 A- sous le groupe motopropulseur.
- Mettre par exemple un morceau de bois -1-, entre le dispositif de levage pour moteur et boîte de vitesses par ex. -V.A.G 1383 A- et le groupe motopropulseur.

- Desserrer les vis -4- et -5-, et faire descendre un peu le groupe motopropulseur avec les consoles. Observer en même temps les câbles électriques.

- Maintenant soulever la barre stabilisatrice -1-, vers l'avant au-dessus de la console -2- du groupe motopropulseur.
Poser
- La pose doit être effectuée dans l'ordre inverse
- Poser les panneaux d'insonorisation en bas Carrosserie - Travaux de montage ; Gr. de rép. 50.
Remarque
- Avant de poser le mécanisme de direction, passer du lubrifiant sur son joint, par ex.un savon gras.
- Après la pose du mécanisme de direction sur l'arbre à cardan, veiller à ce que le joint du mécanisme soit posé sur la plaque de montage sans pliure et que l'ouverture au niveau du plancher soit parfaitement étanche. Sinon il peut y avoir une prise d'eau et/ou du bruit.
- Veiller à la propreté des surfaces d'étanchéité.
- Après la pose, le réglage de base pour le transmetteur d'angle de braquage -G85- doit être effectué Systeme de diagnostic du véhicule, de mesure et d'information VAS 5051; .
- Après la réparation, effectuer un essai sur route et si le volant est de travers, if faut alors contrôler la géométrie du véhicule .
Couples de serrage

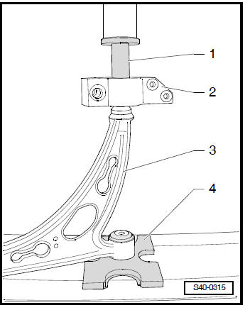
Remplacer le support de palier avec palier pour triangle de suspension
Démancher le support de palier avec palier du triangle de
suspension
Outils spéciaux équipements d'atelier, contrôleurs, appareils de mesure et
auxiliaires nécessaires
Plaque de pression ...
Aperçu du montage du logement de roue
1 - Jambe de suspension 2 - Rotule de barre de direction 3 - Vis
intérieure à dentures multiples
La pointe de la vis doit être tournée dans le sens de
déplacement du véhicule
4 - V ...
D'autres materiaux:
Contrôler la rotule de suspension
Outils spéciaux équipements d'atelier, contrôleurs, appareils de mesure et
auxiliaires nécessaires
Dispositif de fixation -T10096-
Dispositif de levage pour moteur et boîte de vitesses pa ...
Dépose et pose de l'habillage du bas du montant A
Déposer
Déposer l'habillage du bas du montant B .
Déposer le levier pour déverrouillage du capot du moteur (uniquement côté conducteur).
Retirer la vis -2- (uniqu ...