Revue Technique Automobile Skoda Octavia: Dépose et pose du ressort à gaz
Revue Technique Automobile Skoda Octavia / Carrosserie - Travaux de montage / Capot, hayon / Hayon / Dépose et pose du ressort à gaz

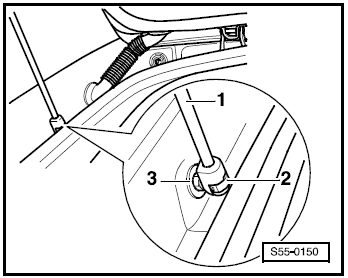
Déposer
- Ouvrir le hayon, le soutenir et le bloquer.
- Lever l'étrier de sécurité -2- avec un tournevis et désolidariser le ressort à gaz -1- du tourillon à rotule -3-.
Remarque Ne pas débloquer complètement l'étrier de sécurité du coussinet sphérique en cas de réutilisation du ressort à gaz, sinon l'étrier de sécurité serait endommagé.
1 - Ressort à gaz
2 - Etrier de sécurité
3 - Boulon à rotule
Poser
La pose doit être effectuée dans l'ordre inverse.
Dépose et pose du hayon
Déposer
Remarque 2
mécaniciens sont nécessaires pour la dépose et la pose.
Déposer les habillages du haut et du bas du hayon.
Déposer la baguette de finition.
Débrancher les connexio ...
Dégazage du ressort
Serrer la partie -a = 50 mm- du ressort à gaz dans un étau.
ATTENTION! Ne serrer le ressort à gaz qu'Ã
cet endroit sinon risque d'accident!
Scier le cylindre du ressort ...
D'autres materiaux:
Dépose et pose du pare-brise
Déposer le pare-brise
Remarque Pour
la dépose de la vitre, un deuxième mécanicien est nécessaire.
Déposer le cache du caisson d'eau
Déposer l'habillage du montant A en haut& ...
Poubelle
Fig. 93 Poubelle : insérer et déplacer / ouvrir
Fig. 94 Remplacement du sac
La poubelle peut être fixée dans les vide-poches des portières avant.
Fixation ...