Revue Technique Automobile Skoda Octavia: Chronologie du montage
Déposer et poser le couvercle du carter de la boîte de vitesses, le carter d'embrayage, l'arbre de changement de vitesses et couvercle, l'arbre primaire et l'arbre de sortie, le différentiel et la commande de changement de vitesses
Outils spéciaux équipements d'atelier, contrôleurs, appareils de mesure et auxiliaires nécessaires
- Bâti de montage -MP 9-101-
- Support de boîte de vitesses -MP 3-501-
- Emmanchoir -MP 1-304-
- Douille d'emmanchement -MP 3-402-
- Soufflante d'air chaud (par ex. -V.A.G 1416-)
- Goujon -M8 x 100-
- Extracteur a deux bras -Kukko 20/10-
- Crochet de déverrouillage -Matra V170-
- Clé dynamométrique

Déposer
- Fixer la boîte de vitesses sur le bâti de montage.
- Mettre une cuvette en dessous.
- Vidanger l'huile de la boîte de vitesses.
- Démonter le levier de débrayage, la butée d'embrayage et la douille de guidage .
- Dévisser le couvercle -1- du carter de la boîte de vitesses.

Déposer comme suit la fourchette de changement de vitesses et le manchon coulissant du 5eme rapport:
- Mettre la fourchette de changement de vitesses -1- sur la position du ralenti.
- Déposer les vis -2- des tourillons de roulement.
- Extraire le tourillon de roulement -fleches A-.
- Desserrer la vis du support de la fourchette et retirer la fourchette du levier de passage des vitesses -fleche B-.
- Déposer le ressort -3-.
- Désolidariser le manchon coulissant -4- et retirer en meme temps les pieces de blocage.
- Faire glisser le manchon coulissant -4- de nouveau sur le synchroniseur.
- Dévisser les vis -A- du synchroniseur et du pignon du 5eme rapport.
A cet effet, enclencher le 5eme rapport -fleche 1- et le 1er rapport -fleches 2- et -3-. L'arbre primaire et l'arbre de sortie sont bloqués apres enclenchement des deux rapports, le synchroniseur et le pignon ne peuvent pas tourner.
Les deux vis peuvent alors etre desserrées.
Remarque Si les arbres ne sont pas remplacés, tous les résidus de produit de fixation restant dans les alésages filetés doivent etre nettoyés avec un outil de filetage.

- Extraire le synchroniseur avec le pignon du 5eme rapport et l'enlever avec le roulement a aiguilles.
A - Extracteur a deux bras par ex. -Kukko 20/10- avec crochet -Matra 
V170-
 B - Vis M10x20

- Extraire le pignon du 5eme rapport.
Remarque
- Lors de l'extraction du pignon, il faut veiller a ce que le crochet ne se replie vers l'extérieur, si nécessaire, resserrer la vis -fleche-.
5. Contrôler si le rapport n'est pas endommagé apres le processus d'extraction.
A - Extracteur a deux bras par ex. -Kukko 20/10- avec crochet -Matra 
V170-
 B - Vis M10x20

Chronologie de démontage:

- Monter l'extracteur a deux bras et le disposer au centre en tournant la vis -fleche-.
- Enlever le pignon avec l'extracteur a deux bras, si nécessaire, chauffer au préalable le pignon avec une soufflante d'air chaud (par ex. -V.A.G 1416-).
- Déposer l'arbre bridé gauche. A cet effet, empecher l'arbre bridé de tourner au moyen d'un mandrin et retirer la vis -fleche-.
- Extraire l'arbre de la bride avec le ressort de pression, rondelle de butée et bague conique

- Déposer les deux vis -fleches- de l'appui/de l'arbre de marche AR.

- Maintenant déposer la 3eme vis -fleche- de l'appui/de l'arbre de marche AR.

- Déposer l'arbre de changement de vitesses avec couvercle.
Mettre l'arbre de changement de vitesses au point mort. Retirer ensuite les vis -fleches- et extraire l'arbre de changement de vitesses du carter de la boîte de vitesses. 

- Déposer le couvercle -A- et les tourillons -B- sous le carter de la boîte de vitesses.

- Chasser prudemment le couvercle -A- avec l'emmanchoir -MP 1-304- et le maillet -B-.

- Enlever du carter d'embrayage les vis -A- qui servent a la fixation du carter de la boîte de vitesses.
Remarque Ne pas dévisser les écrous -B- du support de l'arbre de sortie.

- Déposer les tourillons -A- du dessus de la boîte de vitesses et les vis de fixation -B- du carter de la boîte de vitesses sur le carter d'embrayage a proximité du différentiel.

- Débloquer prudemment, si nécessaire tout autour le carter de la boîte de vitesses au niveau des profilés qui dépassent -fleches- tout en veillant bien a ne pas endommager les surfaces d'étanchéité.

- Enlever les fourchettes de changement de rapport -Aconjointement aux glissieres.
- Dévisser la commande de changement des vitesses/ la marche arriere -B-.

- Dévisser les écrous -B- du support/de l'arbre de sortie.

- Enlever successivement du carter d'embrayage la marche arriere -A-, l'arbre primaire -B- et l'arbre de sortie -C-.
- Déposer l'arbre bridé droit et retirer le différentiel.

Poser
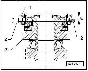
- Installer le différentiel.
- Toujours remplacer les bagues d'étanchéité -flechesdu support/de l'arbre de sortie.
Remarque La fig. ne représente que 3 des 4 bagues d'étanchéité.

- Installer conjointement l'arbre primaire, l'arbre de sortie et l'arbre de marche AR.
- Serrer a 25 Nm les écrous du support/de l'arbre de sortie et donner 1/4 de tour supplémentaire (90).
- Monter la commande de changement de vitesses/la marche arriere
- Enlever le produit de freinage du filetage des vis -a- et -b- dans l'appui de l'arbre de marche AR -fleche-. Le nettoyage peut etre effectué avec une taraudeuse.
- Installer l'appui de l'arbre de marche AR sur l'arbre de marche AR.
- Installer l'arbre de marche AR dans le carter de la boîte de vitesses.

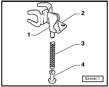
- Poser la fourchette de marche arriere -1- avec l'appui de la fourchette de marche arriere -2-, le ressort -3- et le coulisseau -4-.

Position de montage de la marche arriere

- Serrer la commande de changement des vitesses/la marche arriere -A-.
- Monter les fourchettes de changement de vitesses -Bconjointement aux glissieres.
Le tourillon -C- de l'appui de la marche arriere se trouve devant les glissieres.

- Visser le goujon -A- M8 x 100 mm dans l'appui de l'arbre de marche AR afin qu'il soit aligné apres la pose du carter de la boîte de vitesses.
- Aligner les glissieres.
Remarque Les segments de commande doivent etre disposés dans les gorges des manchons coulissants
- Appliquer une couche bien uniforme de produit -AMV 188 200 03- sur la surface d'étanchéité du carter d'embrayage.
- Monter le carter de la boîte de vitesses et serrer les vis de raccordement a 25 Nm puis donner 1/4 de tour supplémentaire (90).

Poser comme suit les vis de l'appui de l'arbre de marche AR -fleche-:
- Installer la vis -a- et serrer légerement.
- Dévisser le goujon M8 x 100 mm de l'appui de marche AR.
- Installer la vis -b- et serrer légerement.
- Serrer a fond les deux vis.
Ordre de serrage:
1 - La vis -a- 30 Nm
 2 - La vis -b- 25 Nm

- Serrer la vis -c- a 25 Nm.

- Poser les tourillons -fleche- des fourchettes de changement de vitesses. A cet effet, ajuster la commande de changement de vitesses avec un tournevis de sorte que chaque tourillon puisse etre monté.
- Appliquer une couche bien uniforme de produit -AMV 188 200 03- sur la surface d'étanchéité du couvercle.
- Poser le couvercle de l'arbre de changement de vitesses et serrer les vis a 22 Nm.

Installer comme suit l'arbre de changement de vitesses avec couvercle:
- Mettre les glissieres de changement de vitesses au point mort.
- Faire entrer l'ergot -fleche 1- dans la découpure du carter de la boîte de vitesses. Disposer l'arbre de changement de vitesses de sorte que les doigts -fleche 2- puissent etre introduits dans les glissieres.
- Appliquer une couche bien uniforme de produit -AMV 188 200 03- sur la surface d'étanchéité du couvercle.
- Installer le couvercle avec l'arbre de changement de vitesses puis serrer les vis a 22 Nm.

 Fig. 1: Position de montage du pignon du 5e rapport
La gorge -fleche- est tournée vers le carter de la boîte de vitesses

- Chauffer le pignon a 100C env.
- Emmancher le pignon du 5e rapport.

 Fig. 2: Contrôler l'usure de la bague de synchronisation du 
5eme rapport
- Avant de remonter le pignon et la bague de synchronisation du 5eme rapport, pousser la bague de synchronisation sur le cône du pignon de changement de vitesses et mesurer l'entrefer -a- avec une jauge d'épaisseur a lames.

- Installer la roue de commande du 5eme rapport avec le roulement a aiguilles.
- Mettre le synchroniseur du 5eme rapport sur la roue de changement de vitesses.
- Avant d'effectuer la pose assembler le synchroniseur/ le manchon coulissant du 5e rapport , s'il est désassemblé.

 Fig. 3: Position de montage du synchroniseur/du manchon 
coulissant du 5e rapport
Les dents pointues du manchon coulissant -fleche 1- et la haute collerette du synchroniseur -fleche 2- doivent etre tournées vers le carter de la boîte de vitesses.
Les supports -fleche 3- du synchroniseur se trouvent dans l'alignement (fleches dans fig. N35-0018) des pieces de verrouillage coulées dans la masse de la bague de synchronisation Fig. 4 au .

 Fig. 4: Bague de synchronisation du 5eme rapport avec pieces 
de verrouillage coulées dans la masse -fleches-

- Chauffer le synchroniseur du 5eme rapport a 100C env.
- Emmancher le synchroniseur/le manchon coulissant du 5e rapport.
Remarque Lors de l'emmanchement, veiller a la mobilité de la bague de synchronisation.

 Fig. 5: Position de montage des ressorts a coupelles pour les 
vis de fixation du pignon et du synchroniseur du 5eme rapport
Le diametre extérieur -fleches- est tourné vers le 5eme rapport.

- Serrer les vis -A- du synchroniseur et du pignon du 5eme rapport. A cet effet, enclencher le 5eme rapport -fleche 1- et le 1er rapport -fleches 2- et -3-.
L'arbre primaire et l'arbre de sortie sont bloqués apres enclenchement des deux rapports, le synchroniseur et le pignon du 5eme rapport ne peuvent pas tourner. Les deux vis peuvent alors etre serrées.
- Poser la fourchette du 5e rapport

 Fig. 6: 5. Régler le rapport
- Enclencher le 5eme rapport.
- Desserrer la vis -1-. Pousser le manchon coulissant et le bec d'enclenchement dans le sens de la fleche.
- Serrer la vis -1- a 25 Nm.
- 5. Sortir le rapport. Le manchon coulissant doit maintenant etre sur la position de ralenti

- Mesure de contrôle:
- Pousser le manchon coulisseau -1- uniformément en direction du pignon du 5eme rapport -3-.
Le manchon coulissant reste alors sur la position du ralenti.
- Mesurer l'entrefer -a- entre le manchon coulissant (sur le côté opposé du 5eme rapport) et le segment -2- avec une jauge d'épaisseur a lames.
- Determiner l'entrefer -a- sur les deux côtés. La valeur supérieure ne doit pas dépasser 0,2 mm
- Enclencher progressivement tous les rapports.
- Poser le couvercle du carter de la boîte de vitesses.

- Installer les deux arbres bridés avec les ressorts de pression, les rondelles de butée et les bagues coniques.
- Poser la douille de guidage pour la butée d'embrayage, le levier de débrayage et la butée d'embrayage.
 III - Dépose et pose de l'arbre primaire, de l'arbre de sortie, du 
différentiel et des fourchettes
III - Dépose et pose de l'arbre primaire, de l'arbre de sortie, du 
différentiel et des fourchettes
   
1 - Différentiel
	Désassembler et assembler  
2 - Bague d'étanchéité
	4 unités
	toujours remplacer
3 - Arbre de sortie
	Désassembler et assembler  
4 - Appui de l ...
    Réparation du carter de la boîte de vitesses et du carter d'embrayage
Réparation du carter de la boîte de vitesses et du carter d'embrayage
   Outils spéciaux équipements d'atelier, contrôleurs, appareils de 
mesure et auxiliaires nécessaires
	Mandrin -MP 3-403-
	Adaptateur -MP 3-403/1-
	Rondelle de pression -MP 3-455-
	Rondelle d ...
   D'autres materiaux:
Réparation du carter de la boîte de vitesses et du carter d'embrayage
   Outils spéciaux équipements d'atelier, contrôleurs, appareils de 
mesure et auxiliaires nécessaires
	Mandrin -MP 3-403-
	Adaptateur -MP 3-403/1-
	Rondelle de pression -MP 3-455-
	Rondelle d ...
   
Aperçu du montage: Amortisseur, ressort hélicoïdal
   
1 - Appui du ressort du haut 2 - Ressort hélicoïdal
	Tenir compte des différentes versions du châssis,  
	Déposer et poser  
3 - Appui du ressort du bas
	L'extrémité du re ...